
摘要:
自2026年4月1日起,射频治疗仪、射频皮肤治疗仪类产品必须取得第三类医疗器械注册证,方可销售。在新规正式执行前,仍有企业在裸奔甩卖产品,对消费者而言,其售后又如何保障?
编辑|董雨晴
当时极萌、觅光等多个射频美容仪品牌都打出降价清仓的标签,原价几千元的射频美容仪,直接暴跌至四五百元。知名美容仪企业跑路的消息打的消费者措手不及,留下众多消费者在社交平台上追问,售后该找谁?
引起这场雪崩的原因,是2022年3月,国家药品监督管理局发布公告,明确射频治疗仪、射频皮肤治疗仪类产品按最严格的第三类医疗器械管理。当时曾规定,自2024年4月1日起,射频治疗仪、射频皮肤治疗仪类产品未依法取得医疗器械注册证不得生产、进口和销售。
后来,这一新规延期了两年。
当下,一个百亿级市场正在经历前所未有的洗牌,那些制造面容焦虑的厂商们,谁在合规转型?谁又在大胆擦边?

去库存压力下,大胆擦边的品牌们
新规正式落地时,市面上绝大多数射频美容仪品牌将无法继续销售,行业将迎来一场残酷的“大逃杀”。
这意味着,现有的库存产品如果不能在新规实施前售出,将会砸在手里。对于企业来说,4月1日之前能清掉就是赚到,甩卖正在进行中。但对于消费者而言,这些产品就成了裸奔的“清仓机”,未来或将下架,售后无法保障。
凤凰网科技查阅某电商平台,从几百元到几千元不等,不同品牌都在进行力度不一的降价措施。进口品牌中,初普紫矿美容仪产品从7000元跌至2800元。国产品牌同样未能幸免,极萌大熨斗pro产品显示从2499元跌至1300元区间,花至小紫弹美容仪也从4300元下滑至2500元左右。此外,有部分品牌直接打出"清仓"的标识。
降价之下,对于第三类医疗器械注册证的合格申请情况也不容乐观。
医疗器械,主要按照风险等级分为一类、二类和三类,其中一类风险程度低,备案管理无需注册,而二类指中度风险,需要注册,一般由省级药品监督管理部门审批,血压计、助听器等属于这一范畴。三类往往有更高风险,需要由国家药品监督管理部门(国家药监局)审批获得注册证,人工关节、心脏起搏器都属于这一范畴。此前,有不少美容仪产品会打小家电的标签,主要遵循家电产品的3C认证、质量安全等通用标准。
凤凰网科技在某电商平台询问客服发现,目前有不少品牌并未拿到三类医疗器械注册证,初普、极萌、德技等品牌表述正在申请中或在备案进度中。当问及今年4月1日以后是否还会上架该产品时,则回复以后续通知为主。

而另一些品牌则直接将该类产品定性为家用电器,“不需要三类证”。金茉旗舰店的客服就回复称:“店铺目前在售的均属于家用美容仪,不在医疗器械认证范围之内”。

与此同时,凤凰网科技还发现,部分小众品牌在没有申请三类证的情况下表示,后续4月1日以后还会上架。
对于大型射频仪器,商家更显“经验丰富”,直言这是行业惯例,消费者要自己评估风险,也有商家“传授”经验,“很多客户有人检查就会把仪器藏起来”。
第三类医疗器械证如此难办?对于中小品牌来说,几乎是一道难以跨越的门槛。
要知道,第三类医疗器械属于"严上加严"的最高风险等级,和心脏起搏器、人工晶体一个级别,申报材料需提交至国家药品监督管理局审查。企业想拿证,要先按医疗标准研发,再做完检测、临床试验等多个环节,前前后后需要2-10年不等。华西证券分析师曾指出,其花费高达400-500万元。
面对高昂的拿证成本和时间压力,中小品牌不得不做出选择,要么放弃射频赛道,转向其他品类,要么趁着过度期再赚一波快钱后退出。
在这其中,一部分品牌选择绕道,放弃射频赛道,转向微电流和LED类技术路线为主的新品,如"胶原炮""大排灯"等产品。这些新品类不在三类医疗器械监管范围内,可以暂时规避拿证压力。
当然也有部分品牌选择退出。
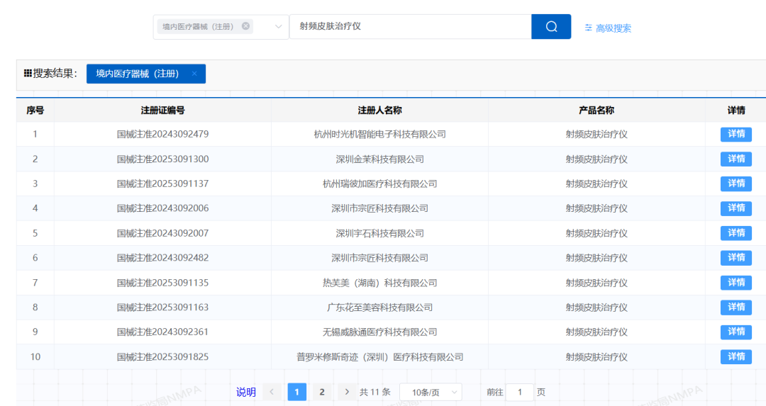
凤凰网科技查阅国家药品监督管理局发现,截至发稿,目前仅有金茉、玛丽仙、热芙美、花至、觅光等12家少数品牌完成了射频皮肤治疗仪的注册。


需要注意的是,第三类医疗器械证是一品一证,并不是一个证可以覆盖所有产品。
此外,凤凰网科技查阅某电商平台发现,目前在售的持证上岗的产品仅有两款,且产品明显标注“医疗版”,分别是深圳宇石科技有限公司旗下品牌玛丽仙的RFO601Pro+型和杭州瑞彼加医疗科技有限公司旗下的R1M型。

4月1日以后,对于无证生产、销售射频美容仪的商家,将会被没收产品及违法所得,最高处15-30倍罚款,最低5万元。情节严重的,会面临停产停业,相关责任人终身禁止从事医疗器械生产经营活动。
值得注意的是,并非所有射频类产品都属于医疗器械。仅用于皮肤清洁、按摩、促渗吸收或去角质等功能的射频仪器,不符合医疗器械定义,无需要按械字号管理。

合规前夜,潜伏的风险隐患
家用射频美容仪的安全问题,并非始于今日。
美容仪产品,在美妆赛道历经疲软之后,曾经是最具增长潜质的新类目。
2019-2021年双十一,面部美容仪销量榜前三位还是初普、雅萌、宙斯等海外品牌,但到了2023年极萌、觅光等国内品牌的销售额增长迅速,抖音上的销售额前列排名中已有过半为中国品牌。
以极萌为例,2023年上半年,其达到了品类销额TOP1,增速达到了惊人的35136%。当年度双11,通过绑定头部主播广东夫妇,仅在其直播间销售额就破亿。
但野蛮发展也带来了种种隐患。
2022年7月,新基石(深圳)科技有限公司根据《消费品召回管理暂行规定》,主动召回一批进口的初普第一代StopEye家用射频美容仪,数量高达18万余台。
召回原因则是产品在使用过程中如停留过久或移动过慢,存在探头温度过高导致皮肤烫伤的安全隐患。
这并非个案,在社交媒体上关于美容仪烫伤的投诉也屡见不鲜。有消费者分享使用某品牌射频美容仪后额头和脸颊冒痘,更有消费者出现皮肤凹陷、垮脸、长斑的情况。
此外,凤凰网科技在黑猫投诉平台搜索美容仪发现,相关投诉超过5000条,涉及雅萌、觅光、慕苏、初普等多个知名品牌,问题主要集中在虚假宣传、产品质量、售后困难等方面。
售后方面,即便消费者发现产品存在问题,维权之路也比较困难。
当前美容效果的鉴定还缺乏统一标准,而一旦鉴定往往要投入大量资金,普通消费者难以承担巨额资金压力。
而在责任归属上其实也更难追溯。美容效果本身跟个人的年龄、皮肤状况、生活习惯有很大关系,即便收效甚微,商家也能归咎于个人差异。
有上海皮肤科医生向雷达财经透露,家用美容仪与医美设备原理相通,抗衰效果确有科学依据。但这类仪器对温控要求苛刻,超过46℃就可能烫伤,目前市面上多数产品根本做不到这种精度,花大几千购买,确实是在交"智商税"。

即将迎来合规归宿
2021年4月,首次提出将家用射频美容仪纳入医疗器械监管范畴。2022年3月30日,明确将射频治疗仪、射频皮肤治疗仪按照第三类医疗器械管理。
在新规出台之前,家用射频美容仪是按照“小家电”的标准进行监管。这意味着,这类产品既不需要像医疗器械那样经过严格的临床试验验证安全性和有效性,也不需要像化妆品那样进行功效宣称的备案管理。企业可以按照自己的理解生产产品,宣传功效,而监管部门缺乏明确的执法依据。
根据智研咨询的调研数据,2021年我国家用美容仪市场规模已逼近百亿元,并保持每年30%以上的高速增长,预计到今年,整体市场规模将突破200亿元。另外企查查数据显示,目前已有超过8000家公司入局美容仪市场。
新规延期两年,让品牌方有了喘息的时间。
对于已经投入大量资金进行临床试验的企业来说,两年的时间可以让它们更加从容地完成注册申报。而对于尚未启动拿证流程的企业,此次延期可能让一些企业产生侥幸心理,继续以小家电的身份销售本应属于医疗器械的产品,并借机在过渡期结束前疯狂营销、收割最后一波。
由于门槛太高,对于近两年都没行动的企业,说明根本不具备办证能力或意愿,再延两年也无实质性变化。
"有证"与"无证"之间,正在形成一道清晰的分水岭。
随着越来越多品牌持证上岗,消费者对"械字号"的认知度正在提升,无证产品的市场竞争力将大打折扣。
对于那些制造面容焦虑、大胆擦边的厂商来说,躺赚的时代已经结束。无论是选择合规转型、技术绕道还是黯然退出,都必须为自己的选择承担后果。
对于整个行业来说,这场行业内的洗牌虽然痛苦,却是必要的。只有淘汰那些靠营销驱动、缺乏技术实力的玩家,才能让真正专注研发、重视安全的企业脱颖而出。
不久后的4月1日,"大限"将至之日。届时,谁持证上岗,一目了然。

