IT之家 11 月 12 日消息,作为新兴技术的轴向磁通电机,已经快速成为部分高性能混合动力系统的新宠。凭借轻量化、紧凑的结构和强劲的功率输出,法拉利和兰博基尼已经在部分最新车型中率先采用了这一技术。根据外媒 motor1 今天的报道,保时捷可能会紧随其后。

提交给世界知识产权组织的专利显示,保时捷正在研发一套混合动力系统,将供应商 Yasa 提供的小型轻量化轴向磁通电机与燃油发动机相结合。该专利覆盖所有乘用车,同时也明确指出了“跑车”应用场景。
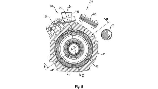
这一设计的思路很直观。与 911 Carrera GTS 中传统的径向磁通电机相比,轴向磁通电机薄如盘片,可以直接安装在发动机与变速箱之间,巧妙地嵌入双质量飞轮组件内。
电机与燃油发动机通过双离合变速箱协同工作。得益于电机超薄设计,动力总成长度几乎不会增加,也意味着发动机与电机依然可以保持在驾驶员身后而不影响布局。值得一提的是,部分应用中的电机厚度仅 7.87 厘米。


专利显示,该系统既适用于中置发动机,也适用于后置发动机。发动机需纵向布置,并与横置双离合变速箱配合。目前尚不清楚该布局是否可兼容手动变速箱,但仍有期待空间。
设计上,这套方案也能降低热量产生。专利提到,当电机与燃油发动机结合“杯状或钟形”透气腔时,两者都能获得充足冷却。

Yasa 的紧凑型电机扭矩惊人,其最强单台电机可输出超过 470 马力和 800 牛・米。据IT之家了解,法拉利 SF90 的三台 Yasa 电机合计输出 217 马力,兰博基尼 Revuelto 的两台电机输出略低于 296 马力。但这两款车型均搭配强劲 V8 或 V12 发动机,总功率均超过 1000 马力。
如果保时捷在未来量产车上采用这一技术,性能可能会非常惊人。当前 911 Carrera GTS 的电机单独输出约 54 马力和 149 牛・米,与水平对置六缸发动机配合后,总系统输出为 532 马力和 609 牛・米。
假如保时捷将新型轴向磁通电机与涡轮增压 3.6 升发动机结合,综合输出可能突破 800 甚至 900 马力,具体取决于车型。报道指出,这一功率水平非常适合 GT2、GT3 甚至传闻中的超跑。

