玻璃 iPhone
终极的手机
2027 年,iPhone 即将迎来 20 岁生日。
苹果内部正在酝酿一台 20 周年纪念款 iPhone——就像十周年的 iPhone X,它在形态上和交互上将有明显创新,和之前 9 年里的产品,大有不同。
一些第三方消息来源称,这很可能会是一台机身玻璃一体成型的 iPhone。爱范儿在 WWDC 期间也得到了相似的信息,可信度不低。
这台手机代号为「Glasswing」,一种透明翅膀的蝴蝶。
Glasswing 蝴蝶,隐喻 iPhone 轻薄 + 玻璃两种趋势
但这台划时代的 iPhone 究竟会是什么样的具体形态,以及能提供什么价值,还是一团迷雾。
直到本周,苹果终于公布了关于玻璃手机的专利,里面充满了各种科幻的幻想,但也有相对更实际的方案,让我们能得以一窥「iPhone XX」的庐山真面目。
玻璃 iPhone,就是曲面屏 iPhone?
事实上,早在 iPhone X 发布之前,苹果已经发布过类似全玻璃手机的相关专利,当时采用的方案是「信封式」:主板屏幕等等组件像信纸一样塞进玻璃信封,然后封口。
「信封」也是很有苹果特色的一个意象:在所有的过往发布会当中,当属从信封中掏出 MacBook Air 的那个瞬间,封为经典。
而这次的新专利展示了更丰富的实现方案,其中有几种「盖板式」或许最具可行性。
用一块完整的玻璃来塑造 iPhone 机身难度过高,苹果很可能将分为上下两块玻璃:正面的屏幕玻璃像一块带有弧度盖子,覆盖于手机的主板等部件,并和背板的第二块玻璃连接,并采用机械结构让玻璃组件能紧密结合,尽量呈现「无缝」的观感。
并且还会在四个边角采用更厚的玻璃材料,以增强玻璃一体机身的强度。
因此手机正面看起来,真的就像一整块一体成型的玻璃。传统手机的金属边框,将被玻璃取代。
并且这个设计,并不只起到一种单纯造型上的作用,而是将原本只在正面的玻璃显示屏,延展到设备的边框。
也就是说,在 Android 阵营纷纷放弃曲面屏之后,苹果对下一代智能手机的思考,是一台「四曲面」iPhone。
由于屏幕几乎完全延伸到手机的背板,Glasswing 的屏幕能够在视觉上呈现更惊艳「无边界」满溢效果,类似华为 Mate 30 Pro 的「瀑布屏」,只是连上下边框都覆盖了。
华为 Mate 30 Pro
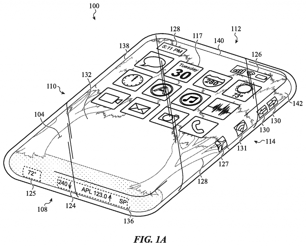
扩张的屏幕当然不止能用来显示更多的画面,苹果在专利中也探索了将侧边屏幕当作可触控的交互区域,一些专利图片中,手机的侧边除了显示「音量键」这些传统的手机侧边按键,还有 Wi-Fi 和飞行模式的按钮样式,用来控制设备功能。
专利中显示,这些侧边按钮可以是静态的图像,也可以是动态的图标,随着情景改变发生变化,手机按键具有了可视化的特性。
如果最终成品真的和专利图类似,那就是好几年前天马行空的「iPhone」预想梗图照进现实了。
同样一直在传的「无按键」iPhone,最终的形态或许就是 Glasswing,用屏幕代替原本的机械按键。许久不在 iPhone 上出现的力度感应器有望回归,加上苹果拿手的振动马达,模拟出机械结构的按键反馈。
至于开口,苹果的态度比较暧昧,专利中同时展示了有专门为灵动岛以及扬声器麦克风准备的开口方案,也有一种更激进的,所有组件都隐藏于玻璃之下的「真 · 一体化」机身。
不过已经有不少爆料称,苹果正在积极探索屏下 3D 面部识别的方案,并且有望在 2027-2028 年实装到产品上。
因此很可能初代的玻璃 iPhone 还会保留开口,在后面的迭代中隐藏到屏幕之下。
手机下方的 USB 接口,苹果很有可能会直接取消,全面「无线化」。
所以,一个没有开口,整个表面光滑的智能手机能带来什么样的全新交互?苹果在专利中构思了一个相当有意思的场景:一台不分「上下」的 iPhone。
扬声器、麦克风等元件上下对称式分布,不管怎么抓起手机,手机都能自动旋转,就像我们使用 iPad,并不需要在意上下左右,一上手就能直接用。
不过这个方案有很明显的挑战:摄像头该如何安放?似乎都不太合适,专利的设想,就是和麦克风以及扬声器一样,将摄像头对称放置,不过显然不现实,因此这个路线更多只是一种探索和设想。
类似天马行空的方案和构思充满了这份专利,关于「全玻璃机身」的方案设计图都不下五个。专利中探讨的设备形态也不止「四曲面」,甚至还有前后双屏的「六面屏」设计。
并且,对于「全玻璃」的思考不仅仅停留在手机上,专利文件也展示了一款「全玻璃」的手表,屏幕同样覆盖至表身的四个侧面。
而如果苹果想赶在两年后的 iPhone 二十周年做出「玻璃 iPhone」,那现今技术上最成熟的方案,可能还是一台「四曲面」的 iPhone,毕竟相关的技术,三星等供应商已经在好几年前探索。
智能手机的理想形态
苹果,特别是乔布斯时期的苹果,特别奉行一种产品的思路:
人们只有在你把产品展示给他们看时,才会知道自己想要什么。
但一台「四曲面」的手机,大众似乎并非从未见过,而是 Android 阵营已经普遍玩过,甚至已经不再继续的产品形态。
华为 P40 Pro 就是「四区面屏」,不过上下的曲面更多只是玻璃的曲面而不是显示效果,图源:CNBC
所以乍一看,苹果选择将下一台「iPhone X」押宝在曲面屏上,好像不如十年前引领我们进入全面屏时代,价值和意义那么的显著。
在技术上或许类似,但「全玻璃智能手机」本质属于不同的产品定义,也能带来更丰富的可能性。
过往的曲面屏手机,更多只是想在手机屏幕形态上整一个花活,目的相对来说要更单纯,就是为了更高的屏占比,以及和 iPhone 不一样的产品形态,新的交互不能说没有,但最终没能留下。
三星 Galaxy S6 Edge 的「曲边信息栏」,图源:Android Central
苹果为什么要做一款全玻璃的手机?可以追溯到乔布斯和前首席设计师 Jony Ive 探索「iPhone」的时候。他们对智能手机的最终设想,就是一块「魔法玻璃」:
我们通过简化去除多余的东西,取得进步。
现在的全面屏手机,算是魔法玻璃吗?可以说是,但只局限在正面,手机侧边的中框就是一个被浪费的区域,上面只有寥寥几颗对应着特定功能的按钮,显然还不是最极致的形态。
iPhone 告别实体按键,不意味着按键不存在或者不重要,而是按键也成为了系统交互的一部分,连接用户、屏幕、应用,本质上是对按键的进一步「升华」,实现「少即是多」的产品哲学。
覆盖一切的屏幕,一体成型的隐喻,意味着这一切都非常简单和直觉,不需要任何思考,用户可以通过 App Store,将它打造成自己需要的模样。
这些更多还是源自乔布斯和 Ive 在十几年前的构想,站在这个即将全面进入空间计算时代的当下,一台全玻璃设计的 iPhone,有了更丰富的象征意义。
Glasswing 还要我们等待 2 年,但今年的 iOS 26 系统,已经让我们看到了一些变化的苗头。
不管是媒体的爆料,还是爱范儿和苹果高管的对谈,我们都能隐约感觉到,苹果系统全面改用隐喻真实的「液态玻璃」,很可能就是为一台「玻璃 iPhone」准备的。
社交平台上,有一些用户为多年前采用透明玻璃的 iMac G4 换上了 macOS 26 截图,效果非常惊人:「玻璃」化的虚拟系统界面,仿佛凭借着机身屏幕的玻璃设计,延伸到了我们的现实世界之中。
图源:X@ColbySheets
类似的,一块通体玻璃,全是屏幕的 iPhone,搭配这个真实玻璃材质隐喻的设计,就能模糊虚拟和现实的界限。
将虚拟界面带到现实世界的 XR 技术渐渐成熟,但智能手机这个还会陪伴我们相当长时间,这样的形态和设计语言,明显能让其更具「时代性」。
当然,理想很科幻,现实中要解决的问题也很多。
华为已经尝试过用屏幕去「吞噬」边框上的按键,却让交互变得更加复杂和不直观,更简约的只有手机形态,用户体验反而下降了。
苹果能不能和 iPhone X 全面屏手势,以及灵动岛一样,赋予这个全新的「全玻璃 iPhone」更好的交互和意义,同样也是其成功的关键。
苹果的目标,很可能依旧是将传感器藏在屏幕之下,根据压感传感器,通过振动给予用户按钮的反馈。一些相关的技术,目前已经在 iPhone 16 的相机控制按钮中有所体现。
简约背后是终极的复杂。一台形态上最简约的智能手机,背后一定意味着更高的元件集成度,更复杂的屏幕技术,以及反复打磨直到可行的交互方案。
一台这样的 iPhone,才是对二十年前那台改变世界的前身,最好的致敬。
文|苏伟鸿




















